Nissan Vuoden Qashqai 2024 - Mallin omistajan käsikirja
6.3.1.2. Käytettävissä olevat näkymät (mallit, joissa on 3D-näkymä)

Etäisyyden ohjeviivaa ja auton leveyden ohjausviivaa tulisi käyttää viitteenä vain silloin, kun auto on tasaisella päällystetyllä pinnalla. Peruutuskameran näytössä näkyvä etäisyys saattaa poiketa auton ja näytössä näkyvien kohteiden välisestä todellisesta etäisyydestä.
Käytä viivoja ja lintuperspektiivinäkymää vain viitteenä. Viivoihin ja lintuperspektiivinäkymään vaikuttavat merkittävästi matkustajien määrä, polttoaineen taso, auton asento, tien kunto ja tien kaltevuus.
Jos renkaat on korvattu eri kokoisilla renkailla, oletettu kulkureitti ja lintuperspektiivinäkymä eivät ehkä näy oikein.
Ylämäkeen ajettaessa kamerassa näkyvät kohteet ovat kauempana, kuin miltä vaikuttaa. Alamäkeen ajettaessa kamerassa näkyvät kohteet ovat lähempänä, kuin miltä vaikuttaa.
Peruutuskameran näyttöruudun kohteet näkyvät visuaalisesti päinvastaisena kuin katsottuna peruutuspeilin tai sivupeilien avulla.
Käytä taustapeiliä tai katso eteen ja taakse arvioidaksesi oikean etäisyyden kohteisiin.
Peruutuskamerassa näkyvien kohteiden etäisyys poikkeaa todellisesta etäisyydestä laajakulmalinssin takia.
Lumisella tai liukkaalla tiellä oletettu kulkureitti saattaa poiketa todellisesta reitistä.
Auton leveyden ja oletetun kulkureitin viivat ovat leveämpiä, kuin todellinen leveys ja kulkureitti.
Etu- ja takanäkymät


Näytössä näkyvät ohjeviivat, jotka ilmoittavat suunnilleen auton leveyden ja kohteiden etäisyydet auton rungon viivaan (A) nähden.
Auton leveyden ohjeviivat (1):
Esittää auton leveyden.
Ennustetut reittiviivat (2):
Esittävät oletettua kulkureittiä ajon aikana. Oletettua kulkureittiä osoittavat viivat liikkuvat näytössä sen mukaan, kuinka paljon ohjauspyörää käännetään.
Etäisyyden ohjeviivat:
Ilmoittaa etäisyyden auton rungosta.
Punainen viiva (3): noin 0,5 m (1,5 jalkaa)
Sininen viiva (4): noin 1 m (3 jalkaa)
Sininen viiva (5): noin 2 m (7 jalkaa)
Sininen viiva (6): noin 3 m (10 jalkaa)
Etukameran näkymää ei näytetä, kun ajoneuvon nopeus on yli 20 km/h (12 MPH).
Kun nopeus ylittää 20 km/h (12 MPH), näyttö siirtyy navigointinäyttöön (jos varusteena) ja näyttöä rajoitetaan.
Lintuperspektiivinäkymä

Lintuperspektiivinäkymä näyttää näkymän auton yläpuolelta katsottuna, mikä auttaa varmistamaan auton asennon, sekä oletetun reitin pysäköintipaikkaan.
Auton kuvake (1) näyttää auton sijainnin. Huomaa. että lintuperspektiivinäkymän näyttämä esineiden välinen etäisyys eroaa todellisesta etäisyydestä.
Ennustetut reittiviivat (2) osoittavat ennustetun reitin ajon aikana.
Keltaiset merkit (3) näkyvät, kun ääniluotain on kytketty pois päältä tai kun se ei ole käytettävissä kulmassa.

Lintuperspektiivistä katsottuna kohteet näyttävät olevan kauempana kuin todellinen etäisyys.
Pitkät esineet kuten reunakiveys tai auto saattavat näkyä virheellisesti linjattuna, tai ne eivät välttämättä näy lainkaan tunnistusalueiden kohtausalueella.
Esineet, jotka sijaitsevat kameraa ylempänä, eivät näy näytössä.
Lintuperspektiivinäkymä saattaa olla virheellisesti kohdistunut, kun kameran paikkaa muutetaan.
Maassa oleva viiva saattaa olla väärin linjattu, tai sitä ei näytetä suorana viivana näyttöalueiden kohtausalueella. Linjaus on sitä virheellisempi, mitä kauemmas viiva etenee autosta poispäin.
Tallenna sijainti (jos varusteena)
Voit tallentaa pisteitä, joissa laaja etunäkymä avautuu automaattisesti, kun ajoneuvo on noin 30 metrin (110 jalan) päässä tallennetusta sijainnista. Siitä voi olla hyötyä esimerkiksi silloin, kun kuljettajan on tarkistettava kuolleet kulmat tienristeyksissä, joissa näkyvyys on huono.
Voit tallentaa sijainnin koskettamalla Tallenna sijainti -kuvaketta
(jos varusteena).
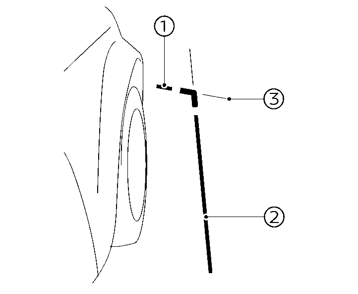
Etusivunäkymä

Ohjeviivat:
Näytössä näkyvät ohjeviivat, jotka ilmoittavat auton summittaisen leveyden ja auton keulan.
Auton keulaviiva (1) näyttää auton keulan sijainnin.
Auton sivuviiva (2) näyttää auton leveyden sivupeilit mukaan lukien.
Sekä etuviivan (1) että sivuviivan (2) jatkeet (3) jatkeet näkyvät sinisenä viivavana.

Suuntavilkku saattaa näyttää näytön sivuviivalta. Tämä ei tarkoita toimintavikaa.
Leveä etu-/takanäkymä


Etunäkymä/takanäkymä näyttää normaalin näkymän jaetuissa näytöissä, mutta etu- ja takanäkymä näyttää laajemman alueen koko näytössä ja mahdollistaa oikean ja vasemman puolen kuolleiden kulmien tarkistamisen.
Auton leveyden ohjeviivat (1):
Esittää auton arvioidun leveyden.
Ennustetut reittiviivat (2):
Esittävät oletettua kulkureittiä ajon aikana. Oletettua kulkureittiä osoittavat viivat liikkuvat näytössä sen mukaan, kuinka paljon ohjauspyörää käännetään.
Etäisyyden ohjeviivat:
Ilmoittaa etäisyyden auton rungosta.
Punainen viiva (3): noin 0,5 m (1,5 jalkaa)
Sininen viiva (4): noin 1 m (3 jalkaa)
Sininen viiva (5): noin 2 m (7 jalkaa)
Sininen viiva (6): noin 3 m (10 jalkaa)
Leveää etunäkymää ei näytetä, kun ajoneuvon nopeus ylittää 20 km/h (12 MPH).
Kun nopeus ylittää 20 km/h (12 MPH), näyttö siirtyy navigointinäyttöön (jos varusteena) ja näyttöä rajoitetaan.

Kun näytössä näkyy leveä etunäkymä ja ohjauspyörää käännetään korkeintaan 90 astetta pyörien ollessa suunnattuna suoraan eteenpäin, sekä oikean- että vasemmanpuoleiset oletetun kulkureitin viivat (6) näytetään. Kun ohjauspyörää käännetään 90 astetta tai sitä enemmän, oletetun kulkureitin viiva näkyy vain kääntösuunnan vastakkaisella puolella.
Takaosan zoomausnäkymä (jos varusteena)
Takaosan zoomausnäkymä näyttää suurennetun osan takaosan maa-alueesta. Näin saadaan selkeä rajoitettu takanäkymä, jossa on ennakoiva keskiviiva, mikä voi olla hyödyllistä esimerkiksi silloin, kun perävaunua kiinnitetään ajoneuvoon.
Kun kameranäyttö on näkyvissä, voit ottaa takaosan zoomausnäkymän käyttöön tai poistaa sen käytöstä koskettamalla takaosan zoomausnäkymän kuvaketta
.
Näkymättömän konepellin näkymä (jos varusteena)

Näkymättömän konepellin näkymä antaa käyttäjälle mahdollisuuden nähdä tienpinnan lähes läpinäkyvän ajoneuvon korin alta. Tämä voi olla hyödyllinen toiminto esimerkiksi silloin, kun etupyöriä kohdistetaan automaattisen autopesulan kiskoihin tai kun vältetään ajoneuvon sivujen törmäämistä kivetyksiin, kun ajoneuvolla ajetaan alhaisilla nopeuksilla.
Aktivoi näkymättömän konepellin näkymä koskettamalla näkymättömän konepellin näkymän kuvaketta (8). Ensimmäinen kuva näytetään, kun ajoneuvo on liikkunut noin 3 metriä (10 jalkaa). Jos haluat poistaa näkymättömän konepellin näkymän käytöstä, valitse toinen näkymä.

Kuva korin alla olevasta tienpinnasta on yhdistelmä etukameran kuvista, eikä se todellisuudessa näytä tienpintaa ajoneuvon korin alta.
Ennustetut reittiviivat (1):
Esittävät oletettua kulkureittiä ajon aikana. Oletettua kulkureittiä osoittavat viivat liikkuvat näytössä sen mukaan, kuinka paljon ohjauspyörää käännetään. Oletetun kulkureitin viivoja takanäkymässä ei näytetä, kun ohjauspyörä on asennossa, jossa pyörät osoittavat suoraan eteenpäin.
Etäisyyden ohjeviivat (2) - (5) :
Etäisyyden ohjeviivat:
Ilmoittaa etäisyyden auton rungosta.
Punainen viiva (2): noin 0,5 m (1,5 jalkaa)
Sininen viiva (3): noin 1 m (3 jalkaa)
Sininen viiva (4): noin 2 m (7 jalkaa)
Sininen viiva (5): noin 3 m (10 jalkaa)
Ajoneuvon ääriviivat (6) :
Ilmoittaa ajoneuvon etualueen ääriviivat.
Pyörän alueen viivat (7) :
Ilmoittaa etupyörien ääriviivat.
Näkymättömän konepellin kuvake (8) :
Kosketa tätä kuvaketta aktivoidaksesi näkymättömän konepellin näkymän.
Näkymättömän konepellin näkymää ei näytetä, kun ajoneuvon nopeus ylittää 20 km/h (12 MPH).
3D-näkymä (jos varusteena)

3D-näkymä näyttää 360-asteisen näkymän auton ympäriltä katsottuna, mikä auttaa varmistamaan auton asennon, sekä oletetun reitin pysäköintipaikkaan. 3D-näkymä ei ole käytettävissä, kun R (peruutus) on valittuna.
Ajoneuvon kuva (1) kääntyy koskettamalla kääntökuvaketta (2). Kun kosketat kääntökuvaketta, ajoneuvon kuva ja ympäröivän alueen kuva avautuvat ja kääntyvät 360°, jolloin voit tarkastella ajoneuvon ympäristöä.
Ajoneuvon kuvaa voi myös kääntää pyyhkäisemällä itse ajoneuvon kuvaa.
Kameran 8 eri suuntaa voidaan valita koskettamalla kameran sijaintikuvaketta (3).
Ennustetut reittiviivat (4) osoittavat ennustetun reitin ajon aikana.

3D-näkymän näyttämä kohteiden välinen etäisyys eroaa todellisesta etäisyydestä.
Joillakin alueilla järjestelmä ei näytä kohteita. Lisätietoja on kohdassa
[Automaattinen 360° liikkuminen] (jos varusteena)
Kun painat <CAMERA> -painiketta ensimmäistä kertaa sen jälkeen, kun virtakytkin on kytketty ON-asentoon, ajoneuvon kuva ja ympäröivän alueen kuva avautuvat ja kääntyvät automaattisesti 360° ([Automaattinen 360° liikkuminen]), jotta ajoneuvon ympäristöä voi tarkastella.
Jos haluat poistaa [Automaattinen 360° liikkuminen] -ominaisuuden käytöstä tai ottaa sen käyttöön, kosketa kameran näytön ollessa näkyvissä kohtaa
avataksesi [Asetukset]-valikon. Valitse sitten [Automaattinen 360° liikkuminen] ottaaksesi toiminnon käyttöön tai poistaaksesi sen käytöstä.