Nissan Vuoden Qashqai 2024 - Mallin omistajan käsikirja
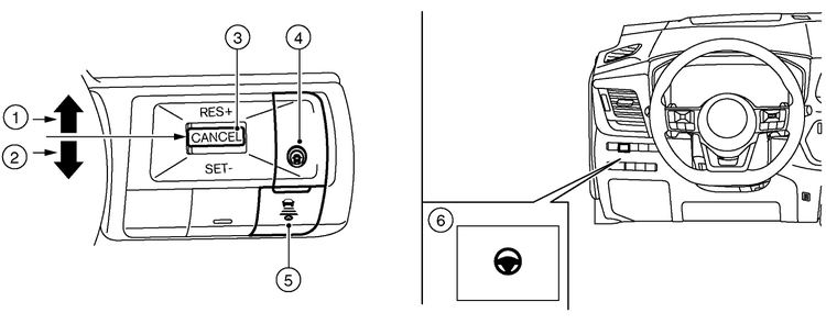
7.26.2. ICC ja ohjauspyörän apujärjestelmän kytkimet (käsivalintaisella vaihteistolla varustetut autot)

- <RES+> -kytkin
- Jatkaa asetettua nopeutta tai lisää nopeutta asteittain.
- <SET–> -kytkin
- Asettaa halutun vakionopeuden tai vähentää nopeutta vähitellen
- <CANCEL> -kytkin
- Kytkee ICC-järjestelmän pois päältä poistamatta asetettua ajonopeutta
- Ajoapu-kytkin
- Laittaa ICC ja ohjauspyörän apu -järjestelmän päälle tai pois.
- Etäisyyskytkin
- — Pitkä
- — Keskipitkä
- — Lyhyt
- Ohjauspyörän avun kytkin
- Ohjauspyörän aputoiminto menee päälle tai pois.
Nissanin omistajan käsikirja