Nissan Vuoden Qashqai 2025 - Mallin omistajan käsikirja
6.4.1. MOD-järjestelmän toiminta (mallit ilman 3D-näkymää)
MOD-järjestelmä aktivoituu automaattisesti seuraavissa olosuhteissa:
Vaihdevipu on R (peruutus) -asennossa.
Kun <CAMERA> -painiketta painetaan Intelligent Around View Monitor -järjestelmän (älykkään katvealueiden tarkkailujärjestelmän) aktivoimiseksi näytöllä.
Auton nopeus laskee alle 8 km/h (5 MPH).
MOD-järjestelmä toimii seuraavissa olosuhteissa, kun kameranäkymä on näytössä:
Kun vaihdevipu on P (Park)- tai N (Neutral) -asennossa (vapaalla) ja auto on pysähtyneenä, MOD-järjestelmä tunnistaa liikkuvat kohteet lintuperspektiivistä. MOD-järjestelmä ei toimi, jos mikään ovi on auki. Jos ulkopeilit on taitettu, MOD ei välttämättä toimi kunnolla.
Kun vaihdevipu on ajoasennossa ja auton nopeus on alle 8 km/h (5 MPH), MOD-järjestelmä tunnistaa liikkuvat kohteet etunäkymästä tai leveästä etunäkymästä.
Kun vaihdevipu on R-asennossa (peruutus) ja auton nopeus on alle 8 km/h (5 MPH), MOD-järjestelmä tunnistaa liikkuvat kohteet takanäkymästä tai leveästä takanäkymästä. MOD-järjestelmä ei toimi, jos takaluukku on auki.
MOD-järjestelmä ei tunnista liikkuvia kohteita etusivunäkymässä. MOD-kuvaketta ei näytetä ruudussa tässä näkymässä.
Kun MOD-järjestelmä tunnistaa auton lähellä liikkuvan kohteen, oranssi kehys tulee näkyviin näyttöön, jossa kyseinen kohde tunnistettiin ja äänimerkki soi kerran. Oranssi kehys pysyy näytössä niin kauan, kun MOD-järjestelmä edelleen tunnistaa liikkuvat kohteet.

Kun RCTA piippaa (jos varusteena), MOD-järjestelmä ei anna äänimerkkiä.




Lintuperspektiivinäkymässä oranssi kehys (1) näytetään kussakin kameran kuvassa (edessä, takana, oikealla ja vasemmalla) riippuen siitä, missä liikkuvat kohteet havaitaan.
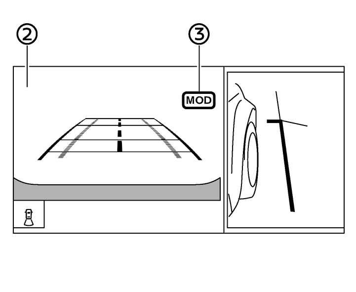
Oranssi kehys (2) näkyy etunäkymässä, takanäkymässä, laajassa etunäkymässä ja laajassa takanäkymässä.
Vihreä MOD-kuvake (3) näkyy siinä näkymässä, jossa MOD-järjestelmä on toiminnassa. Harmaa MOD-kuvake (3) näkyy siinä näkymässä, jossa MOD-järjestelmä ei ole toiminnassa.
Jos MOD-järjestelmä on kytketty pois päältä, MOD-kuvaketta (3) ei näytetä.