Nissan Vuoden Qashqai 2025 - Mallin omistajan käsikirja
4.3.3. Auton tietonäyttö

Kun virta kytketään päälle, ajoneuvotietonäytössä voi näkyä seuraavat näyttöruudut, jos ne ovat ajoneuvon varustuksessa:
1. [Aloitus]
2. [Tyhjä]
3. [Nopeus] (jos varusteena)
4. [Ajotietokone] — [Keskinopeus] (etäisyys ja aika)
5. [Polttoaineenkulutus]
6. [ECO Poljin -opas]
7. [Renkaanpaineet]
8 .[Pysäytä/käynnistä]
9. [Stop/Start] (jos varusteena)
10. [4x4-i väännönjako] (jos varusteena)
11. [Navigointi] (jos varusteena)
12. [Navigointi] (jos varusteena)
13. [Kompassi] (jos varusteena)
14. [Audio]
15. Puhelimen näyttö (näkyy, kun on puhelu on tulossa)
16. [Ajoapurit] (jos varusteena)
17. ProPILOT Assist tai ICC/Ohjausavustin (käsivalintainen vaihteisto) (jos varusteena)
18. [Liikennemerkki] (jos varusteena)
Varoitukset Varoitukset näytetään vain silloin, kun ne ovat ajankohtaisia. Katso lisätietoja varoituksista ja merkkivaloista kohdasta
.19. [Asetukset]
Lisää tietoa ajoneuvon tietonäytön tietojen hallinnoinnista löytyy kohdasta
.
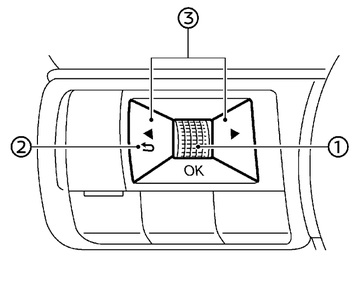
Ajoneuvon tietonäytön kytkimet sijaitsevat ohjauspyörän vasemmalla puolella.
- (1)Vierityspyörä - selaa kohteita ja vaihtaa tai valitsee kohteen ajoneuvotietojen näytössä. Tämän vierityspyörän avulla voi liikkua ylös/alas ja valita painamalla
- (2)
– siirry takaisin edelliseen valikkoon - (3)

– siirry näytöstä toiseen (esim. välimatkamittari, polttoaineen kulutus)
Kuvat saattavat vaihdella malleittain.