Nissan Vuoden Qashqai 2025 - Mallin omistajan käsikirja
7.29.2. ICC ja ohjauspyörän apujärjestelmän kytkimet (käsivalintaisella vaihteistolla varustetut autot)

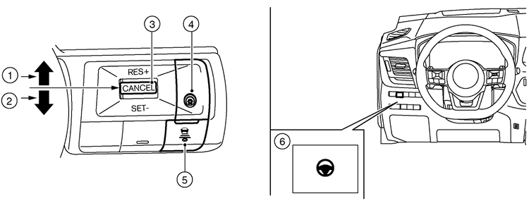
- (1)<RES+> -kytkin
- Jatkaa asetettua nopeutta tai lisää nopeutta asteittain.
- (2)<SET–> -kytkin
- Asettaa halutun vakionopeuden tai vähentää nopeutta vähitellen
- (3)<CANCEL> -kytkin
- Kytkee ICC-järjestelmän pois päältä poistamatta asetettua ajonopeutta
- (4)Ajoapu-kytkin
- Laittaa ICC ja ohjauspyörän apu -järjestelmän päälle tai pois.
- (5)Etäisyyskytkin
- — Pitkä
- — Keskipitkä
- — Lyhyt
- (6)Ohjauspyörän avun kytkin
- Ohjauspyörän aputoiminto menee päälle tai pois.
Nissanin omistajan käsikirja