Nissan Vuoden Qashqai 2025 - Mallin omistajan käsikirja
6.3.1.1. Käytettävissä olevat näkymät (mallit ilman 3D-näkymää)
Etäisyyden ohjeviivaa ja auton leveyden ohjausviivaa tulisi käyttää viitteenä vain silloin, kun auto on tasaisella päällystetyllä pinnalla. Peruutuskameran näytössä näkyvä etäisyys saattaa poiketa auton ja näytössä näkyvien kohteiden välisestä todellisesta etäisyydestä.
Käytä viivoja ja lintuperspektiivinäkymää vain viitteenä. Viivoihin ja lintuperspektiivinäkymään vaikuttavat merkittävästi matkustajien määrä, polttoaineen taso, auton asento, tien kunto ja tien kaltevuus.
Jos renkaat on korvattu eri kokoisilla renkailla, oletettu kulkureitti ja lintuperspektiivinäkymä eivät ehkä näy oikein.
Ylämäkeen ajettaessa kamerassa näkyvät kohteet ovat kauempana, kuin miltä vaikuttaa. Alamäkeen ajettaessa kamerassa näkyvät kohteet ovat lähempänä, kuin miltä vaikuttaa.
Peruutuskameran näyttöruudun kohteet näkyvät visuaalisesti päinvastaisena kuin katsottuna peruutuspeilin tai sivupeilien avulla.
Käytä taustapeiliä tai katso eteen ja taakse arvioidaksesi oikean etäisyyden kohteisiin.
Peruutuskamerassa näkyvien kohteiden etäisyys poikkeaa todellisesta etäisyydestä laajakulmalinssin takia.
Lumisella tai liukkaalla tiellä oletettu kulkureitti saattaa poiketa todellisesta reitistä.
Auton leveyden ja oletetun kulkureitin viivat ovat leveämpiä, kuin todellinen leveys ja kulkureitti.
Etu- ja takanäkymät


Näytössä näkyvät ohjeviivat, jotka ilmoittavat suunnilleen auton leveyden ja kohteiden etäisyydet auton rungon viivaan (A) nähden.
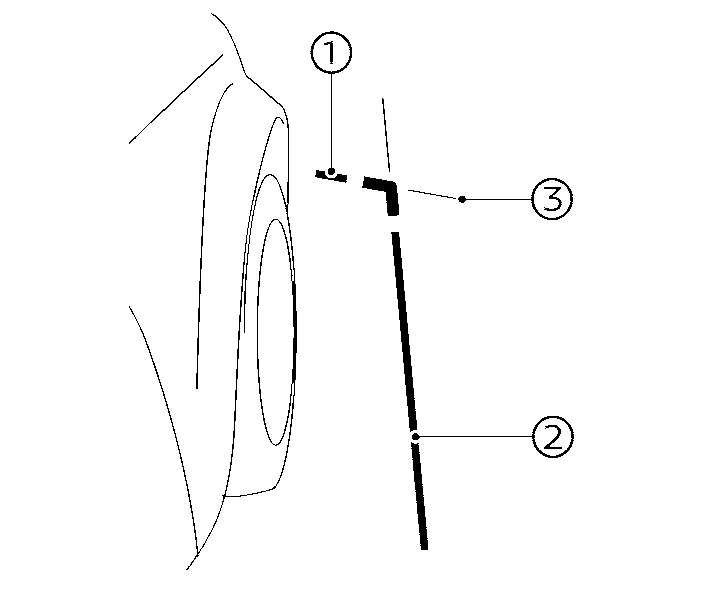
Auton leveyden ohjeviivat (1):
Esittää auton leveyden.
Ennustetut reittiviivat (2):
Esittävät oletettua kulkureittiä ajon aikana. Oletettua kulkureittiä osoittavat viivat liikkuvat näytössä sen mukaan, kuinka paljon ohjauspyörää käännetään.
Etäisyyden ohjeviivat:
Ilmoittaa etäisyyden auton rungosta.
Punainen viiva (3): noin 0,5 m (1,5 jalkaa)
Sininen viiva (4): noin 1 m (3 jalkaa)
Sininen viiva (5): noin 2 m (7 jalkaa)
Sininen viiva (6): noin 3 m (10 jalkaa)
Etukameran näkymää ei näytetä, kun ajoneuvon nopeus on yli 20 km/h (12 MPH).
Lintuperspektiivinäkymä

Lintuperspektiivinäkymä näyttää näkymän auton yläpuolelta katsottuna, mikä auttaa varmistamaan auton asennon, sekä oletetun reitin pysäköintipaikkaan.
Auton kuvake (1) näyttää auton sijainnin. Huomaa. että lintuperspektiivinäkymän näyttämä esineiden välinen etäisyys eroaa todellisesta etäisyydestä.
Ennustetut reittiviivat (2) osoittavat ennustetun reitin ajon aikana.
Punaiset merkit (3) näkyvät, kun ääniluotain on kytketty pois päältä tai kun se ei ole käytettävissä kulmassa.
Lintuperspektiivistä katsottuna kohteet näyttävät olevan kauempana kuin todellinen etäisyys.
Pitkät esineet kuten reunakiveys tai auto saattavat näkyä virheellisesti linjattuna, tai ne eivät välttämättä näy lainkaan tunnistusalueiden kohtausalueella.
Esineet, jotka sijaitsevat kameraa ylempänä, eivät näy näytössä.
Lintuperspektiivinäkymä saattaa olla virheellisesti kohdistunut, kun kameran paikkaa muutetaan.
Maassa oleva viiva saattaa olla väärin linjattu, tai sitä ei näytetä suorana viivana näyttöalueiden kohtausalueella. Linjaus on sitä virheellisempi, mitä kauemmas viiva etenee autosta poispäin.
Etusivunäkymä

Ohjeviivat:
Näytössä näkyvät ohjeviivat, jotka ilmoittavat auton summittaisen leveyden ja auton keulan.
Auton keulaviiva (1) näyttää auton keulan sijainnin.
Auton sivuviiva (2) näyttää auton leveyden sivupeilit mukaan lukien.
Sekä etu- (1) että sivuviivojen (2) jatkeet (3) on merkitty sinisellä katkoviivalla.
Suuntavilkku saattaa näyttää näytön sivuviivalta. Tämä ei tarkoita toimintavikaa.
Leveä takanäkymä

Takanäkymä näyttää normaalin näkymän jaetuissa näytöissä, mutta laaja takanäkymä näyttää laajemman alueen koko näytössä ja mahdollistaa oikean ja vasemman puolen kuolleiden kulmien tarkistamisen.
Auton leveyden ohjeviivat (1):
Esittää auton arvioidun leveyden.
Ennustetut reittiviivat (2):
Esittävät oletettua kulkureittiä ajon aikana. Oletettua kulkureittiä osoittavat viivat liikkuvat näytössä sen mukaan, kuinka paljon ohjauspyörää käännetään.
Etäisyyden ohjeviivat:
Ilmoittaa etäisyyden auton rungosta.
Punainen viiva (3): noin 0,5 m (1,5 jalkaa)
Sininen viiva (4): noin 1 m (3 jalkaa)
Sininen viiva (5): noin 2 m (7 jalkaa)
Sininen viiva (6): noin 3 m (10 jalkaa)